Building Deodorizing System

Effectively controls and masks odors.


 

  • Continuous Deodorizing Fragrance System
  • Deodorizes Whole House at One Time
  • Easy to Use
  • Cost Effective for Homeowners
  • Various Scents Possible

PATENT DETAILS

Patent Pending

 

Story Behind the Invention

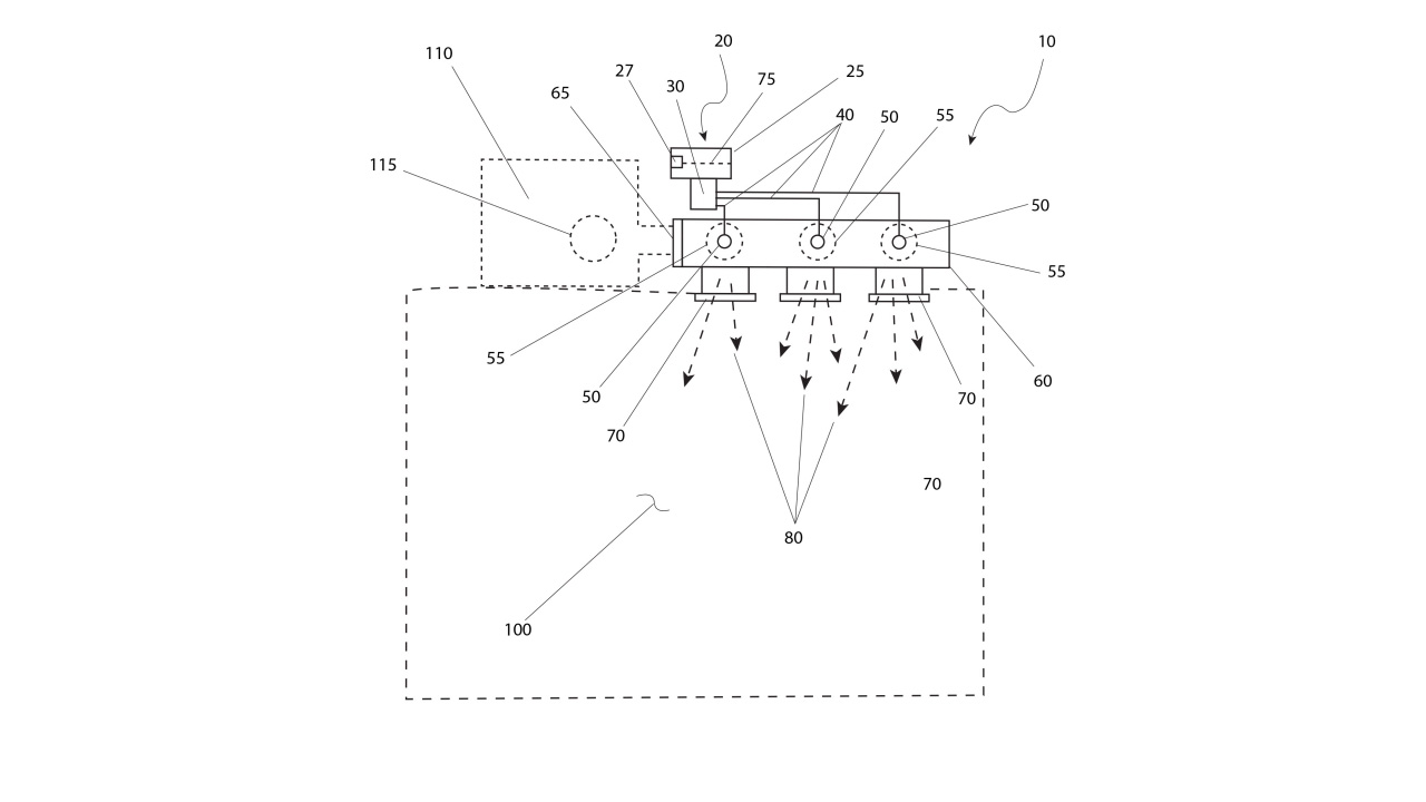
Inventor and HVAC technician, Mark Pontillo of Conway, SC has created a fragrance system that works with ones existing HVAC system to disperse a lasting atomized fragrance through all ductwork vents in a home.

Odors in the home are not just offensive to those living there, but to friends or anyone who stops over as well. And so, it always seems like an endless search for a deodorizer that smells good and lasts. Nothing seems to last more than five minutes! Plus, youre forced to go room-to-room with the deodorizer which means the product is empty in no time. In turn, Pontillo has created the Building Deodorizing System!

This clever new invention will emit fragrance when the blower motor comes on and shut off when the blower shuts off — thereby making this a continuous deodorizing fragrance system. Pontillo has created this system with the homeowner in mind. While the unit will require professional installation, it will be maintained exclusively by the homeowner. This will be both easy since the unit will be conveniently located in a users living space and cost effective. Users will simply refill monthly to control and mask odors. Various scents are possible.

Want to learn more about the Building Deodorizing System? Contact us NOW for additional information or for manufacturing, retail, wholesale, distribution, or licensing opportunities!

Additional Information

Working prototype available

Reviews

There are no reviews yet.

Be the first to review “Building Deodorizing System”

Your email address will not be published. Required fields are marked *

I'm interested in:

Purchasing Licensing Marketing Distributing More Information *Name:
Company: *Phone:
*Email:
*Comments:
 

Product Categories

Wishlist 0
Continue Shopping